Honda working on motorcycle autopilot technology
Many motorcycles, like Ducati’s upcoming Multistrada V4, use radar-assisted tech for functions like cruise control. This system helps maintain a constant distance from vehicles ahead via the throttle and brakes. However, Honda has gone one step ahead, and integrated autonomous steering tech, for a collision-prevention/avoidance solution to it as well
Not just self balancing, future Honda bikes may comprise some level of autonomous self-driving capability (representative image)A few years ago, Honda had showcased a video of a prototype for a self-balancing bike. The video also showed the bike having a basic self-navigation feature, where it was able to follow a person, although largely in a straight line over short distances. And now, Honda has taken a cue from the prototype and integrated it into a road-going motorcycle.
Kudos to Honda for adding safety to 'inherently dangerous' two wheelers Nevertheless, there are already quite a few bikemakers which use a variation of radar-supported cruise control. This system automatically monitors the distance to the vehicle in front and accelerates or brakes independently in order to maintain a suitable distance. Ducati will use such a system (developed by Bosch) in its upcoming Multistrada V4, while BMW Motorrad plans to offer similar tech as an option on the 2021 R 1250 RT.
However, the biggest change on the tech offered by Honda is the addition of an automated steering mechanism, as well as provisions for automated acceleration and braking.
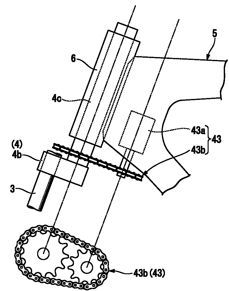
A explainer on how the automated steering system will operateIn the sketches we see a servo motor mounted behind the steering head, connected via a chain to the fork, which will be used to steer the motorcycle. The patent application also shows how it all comes together to help the motorcycle independently change lanes using information from cameras as well as a radar sensor, so that it can react promptly as well as accurately.
An infographic detailing the various facets of Honda's collision detection/avoidance techIn extension to automatic acceleration or braking, automatic evasive maneuvers would also be possible. And, if you spin the idea even further, the motorcycle would then be capable of almost completely autonomous journeys. That said, the Honda is said to employ a failsafe against the system being used in this way, which it will do by employing cameras in front of and behind the rider to ensure he/she remains attentive despite the assistance system.
Honda's patent shows the scope of where motorcycling could technically go in the future. However, considering all we see so far are blueprints and the odd prototype demonstration, it will certainly take some time before such a technology is ready for series production.


